找回密码
 立即注册
澳门威尼斯人
U8
U18
海燕招商
A
蓝盾
e世博
islot.
申博亚洲
澳门银河
B
开云
腾博会
德信
C级广告商
吉祥坊
华体会
查看: 202419|回复: 59

[真人] 【实战有奖】今天在申博亚洲娱乐城也是亏损了

[复制链接]

1852

主题

6万

回帖

2642

金币

钻石用户

积分
176559

万时之王老会员勤奋勋章交易勋章

发表于 2024-10-20 14:00 | 显示全部楼层 |阅读模式

马上注册,结交更多好友,享用更多功能,让你轻松玩转社区。

您需要 登录 才可以下载或查看,没有账号?立即注册

×
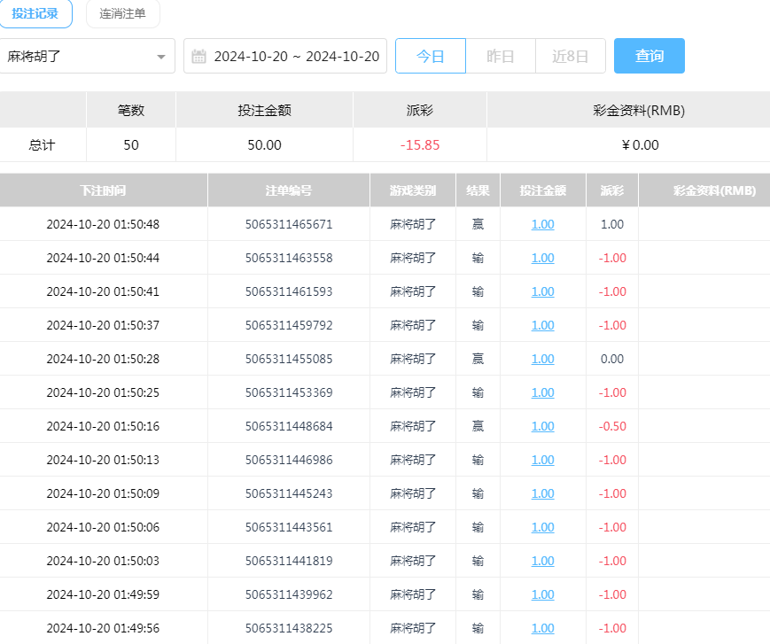
今天去申博亚洲玩的也是没运气,好就没去玩BB了,今天就去玩了一会BB百家乐,但是这个运气不行啊,后面的胜率太差劲了,只能是止损了。然后去玩玩大神经常玩的BB麻将胡了,这个游戏是真的吃啊,只有大神能去玩,吃的是真速度。9 n+ a$ r, g; Y) A6 y$ \
1.png 6.png   v& \) j& g0 [5 V6 ?: b- q
这次玩的百家乐,开局上去就是黑掉了,然后加注打回来之后接着也是顺利的命中了,但是后面又是黑了,但是继续加注两手直接一波的三连黑啊。
2 j* y" F8 Q* c/ I0 C$ ~; N0 M8 ~& R' { 3.png 6 [. Z  }! M# S$ X- f$ C! b
3 O$ Z, g+ O4 G, G* m7 @

- n2 ?1 @. M& S9 c  x. u3 x; K; Y5 O$ L1 j; v4 {3 ?* z
还好最后的梭哈拿下了,但是梭哈之后又是连续的黑了两手啊,继续只能是再梭哈了,那也是回本没啥意思了,止损不玩了,不可能再给我机会让我梭哈再成功了。8 `1 T9 Y0 k5 A* N
4.png 5.png / ?3 y# D6 q& @
5 g2 j4 X9 M: U) i# u
然后去玩玩老虎机,看见大神总是去BB的麻将胡了,我也去尝试一下吧,开始进去还不错得了,进去给个20多的奖励,以为挺好玩,但是接下来就是一顿吃啊,几乎不怎么中奖,这吃的真速度啊,这游戏一般人承受不来别去玩,容易上头。. u" t! {2 E  Y+ Y! m8 [4 n
7.png 8.png ( L: d; j4 @  a3 e; ]

$ a- U( @4 e9 ^9 z: h% I0 g
回复

使用道具 举报

头像被屏蔽

102

主题

9137

回帖

2659

金币

禁止发言

积分
23011

老会员美女勋章

发表于 2024-10-20 14:22 | 显示全部楼层
提示: 作者被禁止或删除 内容自动屏蔽
回复 支持 反对

使用道具 举报

3411

主题

8万

回帖

9624

金币

海燕硕士

积分
236129

万时之王老会员精华勋章勤奋勋章交易勋章光影行者

发表于 2024-10-20 14:35 | 显示全部楼层
不过看起来亏损也是很多的,希望下一次能够赚回来就好
回复 支持 反对

使用道具 举报

3411

主题

8万

回帖

9624

金币

海燕硕士

积分
236129

万时之王老会员精华勋章勤奋勋章交易勋章光影行者

发表于 2024-10-20 14:35 | 显示全部楼层
尔不耳不斤 发表于 2024-10-20 14:22
+ d2 x8 V9 u. Y! o8 z亏损不是很多就不要着急了,楼主运气好一点就行了

* P2 o$ y5 h2 K: b+ _5 S/ j7 j' [对,玩游戏的话肯定还是不要太着急了,下一次会有好运的
回复 支持 反对

使用道具 举报

1053

主题

2万

回帖

8569

金币

铂金用户

积分
74633

老会员交易勋章光影行者

发表于 2024-10-20 15:34 | 显示全部楼层
最后输了也是没有办法的事了,希望下下次是好运的
回复 支持 反对

使用道具 举报

1053

主题

2万

回帖

8569

金币

铂金用户

积分
74633

老会员交易勋章光影行者

发表于 2024-10-20 15:35 | 显示全部楼层
lantianyun 发表于 2024-10-20 14:350 p# M$ b+ ^2 m! U: f" `
不过看起来亏损也是很多的,希望下一次能够赚回来就好
7 {& M- R7 s* x
希望下次是有好运气的,可以把这次的损失打回来吧
回复 支持 反对

使用道具 举报

252

主题

1万

回帖

1604

金币

金牌会员

积分
31655

老会员

发表于 2024-10-20 16:03 | 显示全部楼层
没有一个好的运气,就是不行的,希望以后都能够有个好的收益了。
回复 支持 反对

使用道具 举报

102

主题

6390

回帖

2606

金币

金牌会员

积分
20822

老会员

发表于 2024-10-20 16:25 | 显示全部楼层
战绩不佳有一点损失了,运气差了先休息一下吧
回复 支持 反对

使用道具 举报

2445

主题

8万

回帖

4229

金币

海燕硕士

积分
222530

老会员超级精华精华勋章美女勋章勤奋勋章交易勋章万时之王

发表于 2024-10-20 18:15 | 显示全部楼层
今天的运气不行呀也是导致了亏损的呀,下次也是希望有个收入的呀
回复 支持 反对

使用道具 举报

2445

主题

8万

回帖

4229

金币

海燕硕士

积分
222530

老会员超级精华精华勋章美女勋章勤奋勋章交易勋章万时之王

发表于 2024-10-20 18:15 | 显示全部楼层
易天一人 发表于 2024-10-20 16:25: }& n& {3 T8 L& s$ L6 `
战绩不佳有一点损失了,运气差了先休息一下吧
. G" F: F# C' H
这个损失的话也可以理解的呀,毕竟不可能天天盈利的
回复 支持 反对

使用道具 举报

2445

主题

8万

回帖

4229

金币

海燕硕士

积分
222530

老会员超级精华精华勋章美女勋章勤奋勋章交易勋章万时之王

发表于 2024-10-20 18:15 | 显示全部楼层
飞舞倾城 发表于 2024-10-20 15:35
' s% s8 T4 M# y4 h$ n& n8 Q" I  G希望下次是有好运气的,可以把这次的损失打回来吧

# `$ n. l6 c, C  f/ M- f# L5 _  m- t希望有什么用的呀,要有一个运气也不容易的事呀
回复 支持 反对

使用道具 举报

2445

主题

8万

回帖

4229

金币

海燕硕士

积分
222530

老会员超级精华精华勋章美女勋章勤奋勋章交易勋章万时之王

发表于 2024-10-20 18:16 | 显示全部楼层
lantianyun 发表于 2024-10-20 14:35
$ q4 u! l% w8 @" P. ?) r$ o+ Q6 l对,玩游戏的话肯定还是不要太着急了,下一次会有好运的

, {8 b0 ~" U% C  ^4 K! H这个着急也是没有用的呀,运气不行也是导致了这个输钱 的
回复 支持 反对

使用道具 举报

112

主题

7886

回帖

2357

金币

银牌会员

积分
19977

老会员

发表于 2024-10-20 18:35 | 显示全部楼层
' X" l) v' a$ X. Y
每个人打法不一样,像你这种时候我会不服输继续打,估计会输更多
回复 支持 反对

使用道具 举报

480

主题

3万

回帖

4665

金币

铂金用户

积分
84327

老会员美女勋章勤奋勋章交易勋章

发表于 2024-10-20 19:58 | 显示全部楼层
运气不给力也是要离开,下一次有机会就可以翻本了
回复 支持 反对

使用道具 举报

2618

主题

5万

回帖

6668

金币

钻石用户

积分
177131

万时之王老会员精华勋章勤奋勋章交易勋章

发表于 2024-10-20 21:04 来自手机 | 显示全部楼层
总是会有输有赢的,这次输钱不太多,明天有机会再赢回来的,加油
回复 支持 反对

使用道具 举报

您需要登录后才可以回帖 登录 | 立即注册

本版积分规则

广告合作|福利汇|论坛简介|钱包教程|手机版|小黑屋|Archiver|海燕论坛

快速回复 返回顶部 返回列表